Компания Apple получила патент на изобретение фитнес-браслета с функцией измерения кровяного давления, сообщает Appleinsider.

По данным издания, в новом устройстве будет установлена система измерения артериального давления. Также гаджет сможет подключаться к уже существующим устройствам Apple.
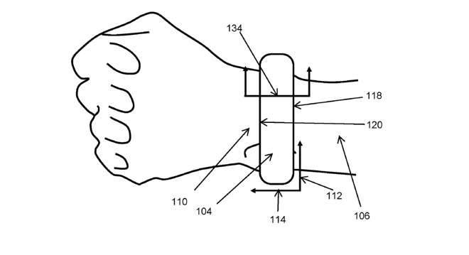
Как отмечается, фитнес-браслет будет состоять из растягиваемой манжеты, системы измерительных датчиков и набора интерфейсов для связи с головным устройством.
Умные часы Apple Watch стали прототипом при разработке нового устройства. В случае успеха, фитнес-браслет станет первым медицинским устройством Apple.
Ранее сообщалось, что в новой версии iOS пользователи гаджетов Apple смогут использовать беспроводные наушники как слуховой аппарат.
-
1🎬Обещали съёмки в фильмах: дело о мошенничестве расследуют в отношении киностудии Jan production в Алматы
-
5436
-
0
-
9
-
-
2💬 Казахстанцев предупредили о возможных фейках после окончания референдума
-
4810
-
2
-
47
-
-
3🍺 Минздрав предлагает изменить правила проверок казахстанцев на опьянение
-
3167
-
6
-
66
-
-
4😱 Смертельный выстрел в воинской части: начальник караула погиб в Жамбылской области
-
2936
-
16
-
33
-
-
5🌤 Прогноз погоды на 16 марта: переменная облачность сохранится в регионах Казахстана
-
3073
-
0
-
9
-
-
6📈 Вот такие данные по явке в конце дня опубликовали в Центральной избирательной комиссии
-
2897
-
4
-
52
-
-
7🟢 Нурсултан Назарбаев пришел проголосовать на участок №228 в Астане
-
2755
-
5
-
204
-
-
8💡Куба полностью обесточена из-за нефтяной блокады
-
2747
-
0
-
48
-
-
9⚠️ Доброе утро, друзья! Предлагаем обзор главных новостей за 16 марта
-
2913
-
0
-
4
-
-
10🌥 Прогноз погоды на 17 марта: туман ожидается на севере и востоке страны
-
2787
-
1
-
8
-
USD:
482.3 / 485.3
EUR:
555.0 / 560.0
RUB:
5.75 / 5.91
Комментарии
Пока нет комментариев…